preskočiť na hlavný text

Disky podporujúce tlač

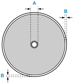
Na disky podporujúce tlač možno tlačiť v oblasti 17 mm (0,67 palca) od vnútorného priemeru až 1 mm (0,04 palca) od vonkajšieho priemeru povrchu určeného na tlač.

Oblasť tlače

  • A: 17,0 mm (0,67 palca)
  • B: 1,0 mm (0,04 palca)